No.11175
● Voltage Operation: +1.8V to +4.2V
● Ultra Low On-Resistance: 0.4Ω (TYP) at +4.2V
● On-Resistance Matching: 0.04Ω (TYP)
● On-Resistance Flatness: 0.08Ω (TYP)
● -3dB Bandwidth: 40MHz
● High Off-Isolation: -78dB at 100kHz
● Low Crosstalk: -103dB at 100kHz
● Rail-to-Rail Input and Output Operation
● TTL/CMOS Compatible
● Break-Before-Make Switching
● Extended Industrial Temperature Range: -40°C to +85°C
● Lead (Pb) Free TQFN-10 (2.1mm×1.6mm) Package
The SGM2267 is a dual single-pole/double-throw (SPDT) analog switch that is designed to operate from a single +1.8V to +4.2V power supply. Targeted applications include battery powered equipment that benefit from ultra low on-resistance (0.4Ω) and fast switching speeds. SGM2267 features guaranteed on-resistance matching (0.04Ω TYP) between switches and guaranteed onresistance flatness over the signal range (0.08Ω TYP), as well as high off-isolation and low crosstalk. This ensures excellent linearity and low distortion when switching audio signals.
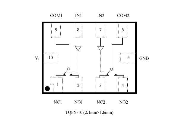
The SGM2267 is a committed dual single-pole/double -throw (SPDT) that consist of two normally open (NO) and two normally close (NC) switches. This configuration can be used as a dual 2-to-1 multiplexer.
SGM2267 is available in Pb-free TQFN-10 (2.1mm ×1.6mm) package.









